ГОСТ 19804.2-79* УДК 624.154.3:624.155.1:006.354 Группа Ж33 ГОСУДАРСТВЕННЫЙ СТАНДАРТ СОЮЗА ССР СВАИ ЗАБИВНЫЕ ЖЕЛЕЗОБЕТОННЫЕ ЦЕЛЬНЫЕ СПЛОШНОГО КВАДРАТНОГО СЕЧЕНИЯ С ПОПЕРЕЧНЫМ АРМИРОВАНИЕМ СТВОЛА С НАПРЯГАЕМОЙ АРМАТУРОЙ Конструкция и размеры Prestressed reinforced-concrete driven square piles. Structure and dimensions ОКП 58 1711 Дата введения 1981-01-01 УТВЕРЖДЕН И ВВЕДЕН В ДЕЙСТВИЕ Постановлением Государственного комитета СССР по делам строительства от 24 октября 1979 г. № 208. Переиздание (май 1995 г.) с Изменением № 1, утвержденным в июне 1983 г.; Пост. № 54 от 31.03.83 (ИУС 9-83) 1. Настоящий стандарт распространяется на забивные железобетонные цельные сваи сплошного квадратного сечения с поперечным армированием ствола с напрягаемой арматурой и устанавливает конструкцию свай и арматурных изделий к ним. 2. Железобетонные сваи сплошного квадратного сечения с напрягаемой продольной арматурой должны удовлетворять требованиям ГОСТ 19804-91 и требованиям настоящего стандарта. 3. Форма, марки, номинальные размеры свай и проектные марки бетона по прочности на сжатие должны соответствовать указанным на черт. 1 и в табл. 1. Сваи сплошного квадратного сечения с поперечным армированием ствола с напрягаемой продольной арматурой
1- подъемные петли; 2- штырь для фиксации места строповки при подъеме на копер Черт. 1 Таблица 1
4. Сваи длиной до 7 м включ. допускается изготовлять без фиксирующих штырей, при этом строповка свай при подъеме на копер должна осуществляться у верхней подъемной петли. 5. При соответствующем технико-экономическом обосновании для восприятия больших горизонтальных или вертикальных нагрузок допускается изготовлять сваи сечением 350 - для свай сечением 350 - для свай сечением 400 6. В качестве крупного заполнителя для бетона свай должен применяться фракционированный щебень из естественного камня и гравия по ГОСТ 26633-91, при этом размер фракции должен быть не более 40 мм. По согласованию с заказчиком допускается применять в качестве крупного заполнителя гравий по ГОСТ 26633-91 для свай длиной до 12 м включ. Примечание. Возможность применения гравия в качестве крупного заполнителя указывается в заказной спецификации, устанавливается проектной организацией для условий погружения свай в пески средней плотности и рыхлые, супеси пластичные и текучие, суглинки и глины от текучих до тугопластичных, илы и торфы, и опирания свай на все виды грунтов, за исключением скальных и крупнообломочных. 7. В качестве продольной напрягаемой арматуры должна применяться: а) высокопрочная арматурная проволока периодического профиля класса Вр-II по ГОСТ 7348-81; б) горячекатаная арматурная сталь классов A-IV и A-V по ГОСТ 5781-82 и классов Ат-V и Ат-IVC по ГОСТ 10884-81. Для свай длиной до 12 м включ. предпочтительно применять арматуру класса Ат-IVC. в) арматурные канаты класса К-7 по ГОСТ 13840-68. 8. Натяжение арматуры классов Вр-II и К-7 следует осуществлять механическим способом, натяжение арматуры классов A-IV, A-V, Aт-V, Ат-IVC - электротермическим (для свай длиной до 12 м включ.) или механическим способами. Допускается использовать электротермический способ для натяжения проволочной арматуры класса Вр-II. При натяжении электротермическим способом высокопрочной проволоки и термически упрочненной стержневой арматуры дополнительно должны производиться контрольные испытания арматуры на растяжение после электронагрева. Образцы испытываются на растяжение в соответствии с требованиями ГОСТ 10446-80. Температура нагрева напрягаемой арматуры при электротермическом способе натяжения не должна превышать величин, установленных нормативными документами по технологии изготовления предварительно напряженных конструкций. 9. Предельная величина предварительного напряжения арматуры а) при механическом способе натяжения б) при электротермическом способе натяжения
где l - длина натягиваемого стержня, м. 7-9. (Измененная редакция, Изм. № 1). 10. При количестве продольных проволок и канатов 8 и более расстояние между их осями должно быть не более 15 мм для проволок и 50 мм для канатов. 11. Прочность бетона в момент отпуска натяжения арматуры (передаточная прочность) должна быть не ниже: 200 кгс/см 300 кгс/см 12. После отпуска натяжения арматура должна быть срезана заподлицо с бетоном. 13. Для поперечного армирования свай следует применять проволоку класса B-I или Вр-I диаметром 5 мм по ГОСТ 6727-80. Шаг спирали поперечной арматуры по обоим концам сваи на длине 1 м должен быть равным 100 мм, в средней части для свай длиной до 12 м включ. - 300 мм и для свай длиной 13 м и более - 200 мм. Поперечная арматура должна быть привязана вязальной проволокой к продольной арматуре в каждом четвертом пересечении с тем, чтобы шаг спирали был зафиксирован. 14. Голова сваи должна быть усилена сетками марок С30-С40. 15. Острие сваи должно быть усилено приставным каркасом марок КО30-КО40. 16. Расположение арматуры (продольной и поперечной, сеток головы свай, каркасов острия, петель и штырей) в сваях должно соответствовать указанному на черт. 2. 17. Спецификация арматурных изделий и выборка стали на сваю приведены в табл. 2-5. Армирование свай
а - зона расположения продольной арматуры при 8 и более проволок, канатов. Черт. 2 18. Ведомость стержней, выборка стали и усилия натяжения продольной арматуры должны соответствовать табл. 6-8. 13-18. (Измененная редакция, Изм. № 1). 19. Допускаются диаметры и классы продольной арматуры свай в соответствии с приложением 1. 20. Ведомость стержней и выборка стали на спираль и сетки головы, каркаса острия, петли и штырь приведена в табл. 9-11. (Измененная редакция, Изм. № 1). 21. Сетки, петли и каркас острия должны быть привязаны к продольной арматуре вязальной проволокой. Штырь устанавливается после формования бетона. 22. (Исключен, Изм. № 1). 23. Сваи с продольной арматурой, предусмотренной настоящим стандартом, должны быть испытаны на трещиностойкость путем укладки их на две опоры, расположенные по схеме, указанной на черт. 3. Схема испытаний свай
Черт. 3 Таблица 2 Спецификация арматурных изделий на сваю
Таблица 3 Выборка стали на сваи марок СНпр3-30÷СНпр15-40
Таблица 4 Выборка стали на сваи марок СН9-30÷СН20-40
Таблица 5 Выборка стали на сваи марок СНк11-30÷СНк20-40
24. После укладки свай на две опоры через 10 мин производят осмотр ее верхней грани над опорами. Сваю считают выдержавшей испытание, если на ее гранях: а) не появятся трещины - для свай с арматурой из высокопрочной проволоки и канатов; б) раскрытие трещин не превышает 0,2 мм - для свай со стержневой арматурой. Ширину раскрытия трещин измеряют с точностью до 0,05 мм. 25. Испытание на трещиностойкость свай, в которых площадь поперечного сечения продольной арматуры увеличена по сравнению с приведенной в настоящем стандарте, проводят в соответствии со схемой, которая должна быть приложена в заказной спецификации. 26. Условия расчета и применения свай даны в приложении 2. 27. Сваи длиной до 12 м включ. допускается изготовлять с технологическим уклоном двух противоположных сторон поперечного сечения, не превышающим 1:15 без изменения площади поперечного сечения. При этом защитный слой бетона не должен быть менее 30 мм. Расположение арматуры в поперечном сечении сваи должно соответствовать черт. 4а, б.
Черт. 4 Таблица 6 Ведомость стержней, выборка стали и усилие натяжения продольной арматуры свай марок СНпр3-30÷СНпр15-40
Таблица 7 Ведомость стержней, выборки стали и усилие натяжения продольной арматуры свай марок СН9-30÷СН20-40
Таблица 8 Ведомость стержней, выборка стали и усилие натяжения продольной арматуры свай марок СНк11-30÷СНк20-40
Таблица 9 Ведомость стержней и выборка стали на спираль марок Сп3-30÷Сп20-40
Таблица 10 Ведомость стержней на один элемент (сетки головы, каркас острия, петли, штырь)
Таблица 11 Выборка стали на один элемент (сетки головы, каркас острия, петли, штырь)
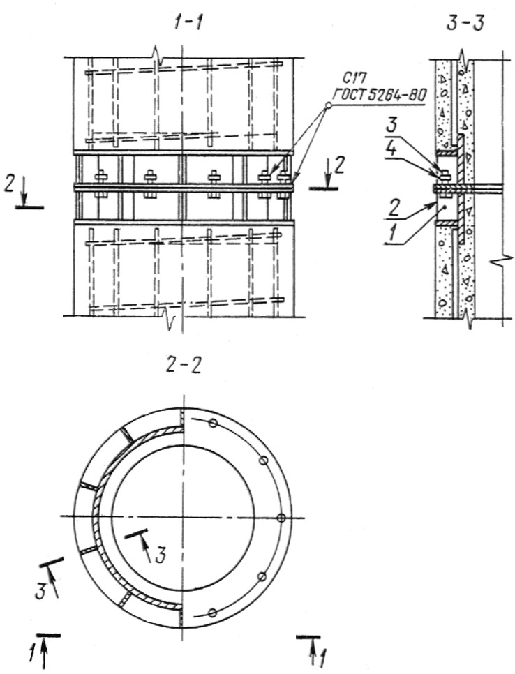
ПРИЛОЖЕНИЕ 1 Обязательное ВАРИАНТ АРМИРОВАНИЯ СВАЙ 1. В табл. 1 и 2 приведены допускаемые варианты замены продольной стержневой арматуры и арматурных канатов. Марка бетона по прочности на сжатие должна соответствовать указанной в табл. 1 настоящего стандарта. Таблица 1 Варианты замены продольной стержневой арматуры
Таблица 2 Варианты замены продольной арматуры из канатов
ПРИЛОЖЕНИЕ 2 Обязательное УСЛОВИЯ РАСЧЕТА И ПРИМЕНЕНИЯ СВАЙ 1. Сваи, предусмотренные настоящим стандартом, рассчитаны на изгиб от усилий, возникающих при подъеме на копер за одну точку, расположенную от торца на расстоянии, равном 0,294 длины призматической части сваи, по прочности и раскрытию (кратковременному) трещин до aт.кр.=0,3 мм при армировании свай стержневой арматурой; по образованию трещин при армировании свай проволокой и арматурными канатами. Коэффициент перегрузки к собственной массе не учитывается. Коэффициент динамичности принят равным: 1,5 - при расчете по прочности; 1,25 - при расчете по образованию и раскрытию трещин. 2. При проектировании свайных фундаментов сваи должны быть рассчитаны на нагрузки, передаваемые на сваи в строительный и эксплуатационный периоды, по прочности и трещиностойкости. При этом категории трещиностойкости свай в зависимости от условий их работы и вида продольной арматуры, а также величина предельно допустимой ширины раскрытия трещин должны быть приняты согласно главе СНиП II.21-75. Допускается увеличивать поперечное сечение продольной арматуры, если это требуется по расчету. При этом в конце марки сваи добавляется буква "у" (усиленная) и в заказной спецификации дополнительно указывается класс, диаметр и количество стержней продольной арматуры. 3. При проверке свай по прочности и образованию трещин для свай, армированных проволокой и канатами, и по прочности и раскрытию трещин до aт.дп=0,2 мм для свай, армированных стержневой арматурой, на внецентренное сжатие от эксплуатационных нагрузок рекомендуется пользоваться графиками. 4. Графики для проверки свай, предусмотренных настоящим стандартом, на внецентренное сжатие от эксплуатационных нагрузок M и N приведены на черт. 1-17. На графиках приняты обозначения: N - нормальная сила, тс; M - изгибающий момент относительно оси сваи, тс⋅м, передаваемые на сваю при эксплуатации здания и сооружения. 3-4. (Измененная редакция, Изм. №1) 5. Предполагается, что свая по всей длине находится в грунте и продольный изгиб сваи не учитывается. 6. После выбора длины и сечения сваи (по геологическим условиям) устанавливается класс, диаметр и количество стержней, проволок или канатов продольной арматуры в соответствии с табл. 2-11 настоящего стандарта. 7. Если точка с координатами M и N лежит ниже линии, соответствующей принятому армированию свай, то выбранная свая удовлетворяет расчету по прочности, раскрытию или образованию трещин (для соответствующей продольной арматуры) на эксплуатационные нагрузки M и N, если точка лежит выше - не удовлетворяет. Сваи сечением 30х30 см. Бетон М300
Черт. 1 Сваи сечением 30х30 см. Бетон М400
Черт. 2 Сваи сечением 35х35 см. Бетон М300
Черт. 3 Сваи сечением 35х35 см. Бетон М400
Черт. 4 Сваи сечением 40х40 см. Бетон М400
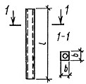
Черт. 5 Сваи сечением 30х30 см. Бетон М300
Черт. 6 Сваи сечением 30х30 см. Бетон М400
Черт. 7 Сваи сечением 35х35 см. Бетон М300
Черт. 8 Сваи сечением 35х35 см. Бетон М400
Черт. 9 Сваи сечением 40х40 см. Бетон М400
Черт. 10 Сваи сечением 40х40 см. Бетон М400
Черт. 11 Сваи сечением 40х40 см. Бетон М400
Черт. 12 Сваи сечением 30х30 см. Бетон М350
Черт. 13 Сваи сечением 30х30 см. Бетон М400
Черт. 14 Сваи сечением 35х35 см. Бетон М350
Черт. 15 Сваи сечением 35х35 см. Бетон М400
Черт. 16 Сваи сечением 40х40 см. Бетон М400
Черт. 17 Поделитесь этой записью или добавьте в закладки |
| ||||||||||||||||||||||||||||||||||||||||||||||||||||||||||||||||||||||||||||||||||||||||||||||||||||||||||||||||||||||||||||||||||||||||||||||||||||||||||||||||||||||||||||||||||||||||||||||||||||||||||||||||||||||||||||||||||||||||||||||||||||||||||||||||||||||||||||||||||||||||||||||||||||||||||||||||||||||||||||||||||||||||||||||||||||||||||||||||||||||||||||||||||||||||||||||||||||||||||||||||||||||||||||||||||||||||||||||||||||||||||||||||||||||||||||||||||||||||||||||||||||||||||||||||||||||||||||||||||||||||||||||||||||||||||||||||||||||||||||||||||||||||||||||||||||||||||||||||||||||||||||||||||||||||||||||||||||||||||||||||||||||||||||||||||||||||||||||||||||||||||||||||||||||||||||||||||||||||||||||||||||||||||||||||||||||||||||||||||||||||||||||||||||||||||||||||||||||||||||||||||||||||||||||||||||||||||||||||||||||||||||||||||||||||||||||||||||||||||||||||||||||||||||||||||||||||||||||||||||||||||||||||||||||||||||||||||||||||||||||||||||||||||||||||||||||||||||||||||||||





























