ГОСУДАРСТВЕННЫЙ СТАНДАРТ СОЮЗА ССР РАСТВОРЫ СТРОИТЕЛЬНЫЕ МЕТОДЫ ИСПЫТАНИЙ ГОСТ 5802-86 МИНСТРОЙ РОССИИ ГОСУДАРСТВЕННЫЙ СТАНДАРТ СОЮЗА ССР РАСТВОРЫ СТРОИТЕЛЬНЫЕ ГОСТ Методы испытаний 5802-86 Mortars. Test methods. Взамен ГОСТ 5802—78 Постановлением Государственного комитета СССР по делам строительства от 11 декабря 1985 г. № 214 срок введения установлен 01.07.86 Настоящий стандарт распространяется на растворные смеси и растворы строительные, изготовленные на минеральных вяжущих (цемент, известь, гипс, растворимое стекло), применяющиеся во всех видах строительства, кроме гидротехнического. Стандарт устанавливает методы определения следующих свойств растворной смеси и раствора: подвижности, средней плотности, расслаиваемости, водоудерживающей способности, водоотделения растворной смеси; предела прочности (далее — прочности) на сжатие, растяжения при раскалывании, растяжения при изгибе, усадки, средней плотности, влажности, водопоглощения, морозостойкости затвердевшего раствора. Стандарт не распространяется на растворы жаростойкие, химически стойкие и напрягающие. 1. ОБЩИЕ ТРЕБОВАНИЯ 1.1. Определение подвижности, плотности растворной смеси и прочности на сжатие раствора является обязательной для всех видов раствора. Другие свойства растворных смесей и раствора определяют в случаях, предусмотренных проектом или правилами производства работ. 1.2. Пробы для испытания растворной смеси и изготовления образцов отбирают до начала схватывания растворной смеси. 1.3. Пробы следует отбирать из смесителя по окончании процесса перемешивания, на месте применения раствора из транспортных средств или рабочего ящика. Пробы отбирают не менее чем из трех мест с различной глубины. Объем пробы должен быть не менее 3 л. 1.4. Отобранная проба перед проведением испытания должна быть дополнительно перемешана в течение 30 с. 1.5. Испытание растворной смеси должно быть начато не позднее чем через 10 мин после отбора пробы. 1.6. Испытание затвердевших растворов проводят на образцах. Форма и размеры образцов в зависимости от вида испытания должны соответствовать указанным в табл. 1. 1.7. Отклонение размеров отформованных образцов по длине ребер кубов, сторон поперечного сечения призм, указанных в табл. 1, не должны превышать 0,7 мм. Таблица 1
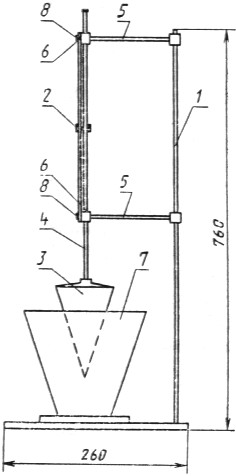
Примечание. При производственном контроле растворов, к которым одновременно предъявляются требования по прочности на растяжение при изгибе и на сжатие, допускается определять прочность раствора на сжатие испытанием половинок образцов-призм, полученных после испытания на изгиб образцов-призм по ГОСТ 310.4—81. 1.8. Перед формованием образцов внутренние поверхности форм покрывают тонким слоем смазки. 1.9. Все образцы должны иметь маркировку. Маркировка должна быть несмываемой и не должна повреждать образец. 1.10. Изготовленные образцы измеряют штангенциркулем с погрешностью до 0,1 мм. 1.11. В зимних условиях для испытания раствора с противоморозными добавками и без них отбор проб и изготовление образцов следует производить на месте его применения или приготовления, а хранение образцов в тех же температурно-влажностных условиях, в которых находится раствор, уложенный в конструкцию. Образцы следует хранить на полке запирающегося инвентарного ящика с сетчатыми стенками и непромокаемой крышей. 1.12. Все средства измерении и параметры виброплощадки следует проверять в сроки, предусмотренные метрологическими службами Госстандарта. 1.13. Температура помещения, в котором проводят испытания, должна быть (20 ± 2) °С, относительная влажность воздуха 50—70 %. Температуру и влажность помещения измеряют аспирационным психрометром типа МВ-4. 1.14. Для испытания растворных смесей и растворов сосуды, ложки, и другие приспособления должны быть изготовлены из стали, стекла или пластмассы. Применение изделий из алюминия или оцинкованной стали и дерева не допускается. 1.15. Прочность раствора, взятого из швов кладки, на сжатие определяют по методике, приведенной в приложении 1. Прочность раствора на растяжение при изгибе и сжатии определяют по ГОСТ 310.4—81. Прочность раствора на растяжение при раскалывании определяют по ГОСТ 10180—90. Прочность сцепления определяют по ГОСТ 24992—81. Деформацию усадки определяют по ГОСТ 24544—81. Водоотделенне растворной смеси определяют по ГОСТ 10181.0—81. 1.16. Результаты испытаний проб растворных смесей и образцов раствора заносят в журнал, на основании которых составляют документ, характеризующий качество строительного раствора. 2. ОПРЕДЕЛЕНИЕ ПОДВИЖНОСТИ РАСТВОРНОЙ СМЕСИ 2.1. Подвижность растворной смеси характеризуется измеряемой в сантиметрах глубиной погружения в нее эталонного конуса. 2.2. Аппаратура 2.2.1. Для проведения испытаний применяют: прибор для определения подвижности (черт. 1); стальной стержень диаметром 12 мм, длиной 300 мм; кельму. 2.2.2. Эталонный конус прибора изготавливают из листовой стали или из пластмассы со стальным наконечником. Угол при вершине должен быть 30° ± 30'. Масса эталонного конуса со штангой должна быть (300 ± 2) г. Прибор для определения подвижности растворной смеси
1 — штатив; 2 — шкала; 3 — эталонный конус; 4 — штанга; 5 — держатели; 6 — направляющие; 7 — сосуд для растворной смеси; 8 — стопорный винт Черт. 1 2.3. Подготовка к испытаниям 2.3.1. Все соприкасающиеся с растворной смесью поверхности конуса и сосуда следует очистить от загрязнений и протереть влажной тканью. 2.4. Проведение испытаний 2.4.1. Величину погружения конуса определяют в последовательности, приведенной ниже. Прибор устанавливают на горизонтальной поверхности и проверяют свободу скольжения штанги 4 в направляющих 6. 2.4.2. Сосуд 7 наполняют растворной смесью на 1 см ниже его краев и уплотняют ее путем штыкования стальным стержнем 25 раз и 5—6 кратным легким постукиванием о стол, после чего сосуд ставят на площадку прибора. 2.4.3. Острие конуса 3 приводят в соприкосновение с поверхностью раствора в сосуде, закрепляют штангу конуса стопорным винтом 8 и делают первый отсчет по шкале. Затем отпускают стопорный винт. 2.4.4. Конус должен погружаться в растворную смесь свободно. Второй отсчет снимают по шкале через 1 мин после начала погружения конуса. 2.4.5. Глубину погружения конуса, измеряемую с погрешностью до 1 мм, определяют как разность между первым и вторым отсчетом. 2.5. Обработка результатов 2.5.1. Глубину погружения конуса оценивают по результатам двух испытаний на разных пробах растворной смеси одного замеса как среднее арифметическое значение из них и округляют. 2.5.2. Разница в показателях частных испытаний не должна превышать 20 мм. Если разница окажется больше 20 мм, то испытания следует повторить на новой пробе растворной смеси. 2.5.3. Результаты испытаний заносят в журнал по форме согласно приложению 2. 3. ОПРЕДЕЛЕНИЕ ПЛОТНОСТИ РАСТВОРНОЙ СМЕСИ 3.1. Плотность растворной смеси характеризуется отношением массы уплотненной растворной смеси к ее объему и выражается в г/см3. 3.2. Аппаратура 3.2.1. Для проведения испытаний применяют: стальной цилиндрический сосуд емкостью 1000+2 мл (черт. 2); Стальной цилиндрический сосуд
Черт. 2 весы лабораторные по ГОСТ 24104—88; стальной стержень диаметром 12 мм, длиной 300 мм; стальную линейку 400 мм по ГОСТ 427—75. 3.3. Подготовка к испытанию и проведение испытаний 3.3.1. Перед испытанием сосуд предварительно взвешивают с погрешностью до 2 г. Затем наполняют растворной смесью с избытком. 3.3.2. Растворную смесь уплотняют путем штыкования стальным стержнем 25 раз и 5—6 кратным легким постукиванием о стол. 3.3.3. После уплотнения избыток растворной смеси срезают стальной линейкой. Поверхность тщательно выравнивают вровень с краями сосуда. Стенки мерного сосуда очищают влажной ветошью от попавшего на них раствора. Затем сосуд с растворной смесью взвешивают с точностью до 2 г. 3.4. Обработка результатов 3.4.1. Плотность растворной смеси ρ, г/см3, вычисляют по формуле где m — масса мерного сосуда с растворной смесью, г; m1 — масса мерного сосуда без смеси, г. 3.4.2. Плотность растворной смеси определяют как среднее арифметическое значение результатов двух определений плотности «смеси из одной пробы, отличающихся между собой не более чем на 5 % от меньшего значения. При большем расхождении результатов определение повторяют на новой пробе растворной смеси. 3.4.3. Результаты испытаний должны быть занесены в журнал по форме согласно приложению 2. 4. ОПРЕДЕЛЕНИЕ РАССЛАИВАЕМОСТИ РАСТВОРНОЙ СМЕСИ 4.1. Расслаиваемость растворной смеси, характеризующая ее связность при динамическом воздействии, определяют путем сопоставления содержания массы заполнителя в нижней и верхней частях свежеотформованного образца размерам 150х150х150 мм. 4.2. Аппаратура 4.2.1. Для проведения испытаний применяют: формы стальные размерами 150х150х150 мм по ГОСТ 22685—89; лабораторную виброплощадку типа 435А; весы лабораторные по ГОСТ 24104—88; шкаф сушильный по ОСТ 16.0.801.397—87; сито с ячейками 0,14 мм; противень; стальной стержень диаметром 12 мм, длиной 300 мм. 4.2.2. Лабораторная виброплощадка в загруженном состоянии должна обеспечивать вертикальные колебания частотой 2900 ± 100 в минуту и амплитудой (0,5 ± 0,05) мм. Виброплощадка должна иметь устройство, обеспечивающее при вибрировании жесткое крепление формы с раствором к поверхности стола. 4.3. Проведение испытаний 4.3.1. Растворную смесь укладывают и уплотняют в форме для контрольных образцов размерами 150х150х150 мм. После этого уплотненную растворную смесь в форме подвергают вибрационному воздействию на лабораторной виброплощадке в течение 1 мин. 4.3.2. После вибрирования верхний слой раствора высотой (7,5 ± 0,5) мм из формы отбирают на противень, а нижнюю часть образца выгружают из формы путем опрокидывания на второй противень. 4.3.3. Отобранные пробы растворной смеси взвешивают с погрешностью до 2 г и подвергают мокрому рассеву на сите с отверстиями 0,14 мм. При мокром рассеве отдельные части пробы, уложенные на сито, промывают струей чистой воды до полного удаления вяжущего. Промывку смеси считают законченной, когда из сита вытекает чистая вода. 4.3.4. Отмытые порции заполнителя переносят на чистый противень, высушивают до постоянной массы при температуре 105—110°С и взвешивают с погрешностью до 2 г. 4.4. Обработка результатов 4.4.1. Содержание заполнителя в верхней (нижней) частях уплотненной растворной смеси V в процентах определяют по формуле где т1 —масса отмытого высушенного заполнителя из верхней (нижней) части образца, г; m2 — масса растворной смеси, отобранной пробы из верхней (нижней) части образца, г. 4.4.2. Показатель расслаиваемости растворной смеси П в процентах определяют по формуле где ΔV — абсолютная величина разности между содержанием заполнителя в верхней и нижней частях образца, %; ∑V — суммарное содержание заполнителя верхней и нижней частей образца, %. 4.4.3. Показатель расслоения для каждой пробы растворной смеси определяют дважды и вычисляют с округлением до 1 % как среднее арифметическое значение результатов двух определений, отличающихся между собой не более чем на 20 % от меньшего значения. При большем расхождении результатов определение повторяют на новой пробе растворной смеси. 4.4.4. Результаты испытаний должны быть занесены в журнал, в котором указывают: дату и время испытания; место отбора пробы; марку и вид раствора; результаты частных определений; среднеарифметический результат. 5. ОПРЕДЕЛЕНИЕ ВОДОУДЕРЖИВАЮЩЕЙ СПОСОБНОСТИ РАСТВОРНОЙ СМЕСИ 5.1. Водоудерживающую способность определяют путем испытания слоя растворной смеси толщиной 12 мм, уложенного на промокательную бумагу. 5.2. Аппаратура и материалы 5.2.1. Для проведения испытаний применяют: листы промокательной бумаги размером 150Х150 мм по ТУ 13-7308001-758—88; прокладки из марлевой ткани размером 250Х350 мм по ГОСТ 11109—90; металлическое кольцо внутренним диаметром 100 мм, высотой 12 мм и толщиной стенки 5 мм; стеклянную пластинку размером 150х150 мм, толщиной 5 мм; весы лабораторные по ГОСТ 24104—88; прибор для определения водоудерживающей способности растворной смеси (черт 3). 5.3. Подготовка к испытанию и проведение испытаний 5.3.1. Перед испытанием 10 листов промокательной бумаги взвешивают с погрешностью до 0,1 г, укладывают на стеклянную пластинку, сверху укладывают прокладку из марлевой ткани, устанавливают металлическое кольцо и еще раз взвешивают. 5.3.2. Тщательно перемешанную растворную смесь укладывают вровень с краями металлического кольца, выравнивают, взвешивают и оставляют на 10 мин. 5.3.3. Металлическое кольцо с раствором осторожно снимают вместе с марлей. Промокательную бумагу взвешивают с погрешностью до 0,1 г. Схема прибора для определения водоудерживающей способности растворной смеси
1 — металлическое кольцо с раствором; 2 — 10 слоев промокательной бумаги; 3 — стеклянная пластина; 4 — слой марлевой ткани Черт. 3 5.4. Обработка результатов 5.4.1. Водоудерживающую способность растворной смеси определяют выраженным в процентах содержанием воды в пробе до и после эксперимента по формуле где т1 — масса промокательной бумаги до испытаний, г; т2 — масса промокательной бумаги после испытания, г; m3 — масса установки без растворной смеси, г; т4 — масса установки с растворной смесью, г. 5.4.2. Водоудерживающую способность растворной смеси определяют дважды для каждой пробы растворной смеси и вычисляют как среднее арифметическое значение результатов двух определений, отличающихся между собой не более чем на 20 % от меньшего значения. 5.4.3. Результаты испытаний должны быть занесены в журнал, в котором указывают: дату и время испытаний; место отбора пробы; марку и вид растворной смеси; результаты частных определений и среднеарифметический результат. 6. ОПРЕДЕЛЕНИЕ ПРОЧНОСТИ РАСТВОРА НА СЖАТИЕ 6.1. Прочность раствора на сжатие должна определяться на образцах-кубах размерами 70,7х70,7х70,7 мм в возрасте, установленном в стандарте или технических условиях на данный вид раствора. На каждый срок испытания изготавливают три образца. 6.2. Отбор проб и общие технические требования к методу определения прочности на сжатие — по пп. 1.1—1.14 настоящего стандарта. 6.3. Аппаратура 6.3.1. Для проведения испытаний применяют: разъемные стальные формы с поддоном и без поддона по ГОСТ 22685—89; пресс гидравлический по ГОСТ 28840—90; штангенциркули по ГОСТ 166—89; стержень стальной диаметром 12 мм, длиной 300 мм; шпатель (черт. 4). Шпатель для уплотнения растворной смеси
Черт. 4 6.4. Подготовка к испытанию 6.4.1. Образцы из растворной смеси подвижностью до 5 см должны изготавливаться в формах с поддоном. Форму заполняют раствором в два слоя. Уплотнение слоев раствора в каждом отделении формы производят 12 нажимами шпателя: 6 нажимов вдоль одной стороны в 6 — в перпендикулярном направлении. Избыток раствора срезают вровень с краями формы смоченной водой стальной линейкой и заглаживают поверхность. 6.4.2. Образцы из растворной смеси подвижностью 5 см и более изготавливают в формах без поддона. Форму устанавливают на кирпич, покрытый газетной бумагой, смоченной водой, или другой непроклеенной бумагой. Размер бумаги должен быть таким, чтобы она закрывала боковые грани кирпича. Кирпичи перед употреблением должны быть притерты вручную один о другой для устранения резких неровностей. Кирпич применяют глиняный обыкновенный влажностью не более 2 % и водопоглощением 10—15 % по массе. Кирпичи со следами цемента на гранях повторному использованию не подлежат. 6.4.3. Формы заполняют растворной смесью за один прием с некоторым избытком и уплотняют ее путем штыкования стальным стержнем 25 раз по концентрической окружности от центра к краям. 6.4.4. В условиях зимней кладки для испытания растворов с противоморозными добавками и без противоморозных добавок на каждый срок испытания и каждый контролируемый участок изготавливают по 6 образцов, три из которых испытывают в сроки, необходимые для поэтажного контроля прочности раствора после 3-часового их оттаивания при температуре не ниже (20 ± 2) °С, а оставшиеся три образца испытывают после их оттаивания и последующего 28-суточного твердения при температуре не ниже (20 ± 2) °С. Время оттаивания должно соответствовать указанному в табл. 2. Таблица 2
6.4.5. Формы, заполненные растворной смесью на гидравлических вяжущих, выдерживают до распалубки в камере нормального хранения при температуре (20 ± 2) °С и относительной влажности воздуха 95—100 %, а формы, заполненные растворной смесью на воздушных вяжущих, — в помещении при температуре (20 ± 2) °С и относительной влажности (65 ± 10) %. 6.4.6. Образцы освобождают из форм через (24 ± 2) ч после укладки растворной смеси. Образцы, изготовленные из растворных смесей, приготовленных на шлакопортландцементах, пуццолановых портландцементах с добавками замедлителями схватывания, а также образцы зимней кладки, хранившиеся на открытом воздухе, освобождают из форм через 2—3 сут. 6.4.7. После освобождения из форм образцы должны храниться при температуре (20 ± 2) °С. При этом должны соблюдаться следующие условия: образцы из растворов, приготовленных на гидравлических вяжущих, в течение первых 3 сут должны храниться в камере нормального хранения при относительной влажности воздуха 95—100 %, а оставшееся до испытания время — в помещении при относительной влажности воздуха (65 ± 10) % (из растворов, твердеющих на воздухе) или в воде (из растворов, твердеющих во влажной среде); образцы из растворов, приготовленных на воздушных вяжущих, должны храниться в помещении при относительной влажности воздуха (65 ± 10) %. 6.4.8. При отсутствии камеры нормального хранения допускается хранение образцов, приготовленных на гидравлических вяжущих, во влажном песке или опилках. 6.4.9. При хранении в помещении образцы должны быть защищены от сквозняков, обогревания приборами отопления и т. п. 6.4.10 Перед испытанием на сжатие (для последующего определения плотности) образцы взвешивают с погрешностью до 0,1 % и измеряют штангенциркулем с погрешностью до 0,1 мм. 6.4.11. Образцы, хранившиеся в воде, должны быть вынуты из нее не ранее чем за 10 мин до испытания и вытерты влажной тканью. Образцы, хранившиеся в помещении, должны быть очищены волосяной щеткой. 6.5. Проведение испытания 6.5.1. Перед установкой образца на пресс с контактирующих с гранями образца опорных плит пресса тщательно удаляют частицы раствора, оставшиеся от предыдущего испытания. 6.5.2. Образец устанавливают на нижнюю плиту пресса центрально относительно его оси так, чтобы основанием служили грани, соприкасавшиеся со стенками формы при его изготовлении. 6.5.3. Шкалу силоизмерителя испытательной машины или пресса выбирают из условия, что ожидаемое значение разрушающей нагрузки должно быть в интервале 20—80 % от максимальной нагрузки, допускаемой выбранной шкалой. Тип (марку) испытательной машины (пресса) и выбранную шкалу силоизмерителя записывают в журнале испытаний. 6.5.4. Нагрузка на образец должна возрастать непрерывно с постоянной скоростью (0,6 ± 0,4) МПа [(6 ± 4) кгс/см2] в секунду до его разрушения. Достигнутое в процессе испытания образца максимальное усилие принимают за величину разрушающей нагрузки. 6.6. Обработка результатов 6.6.1. Предел прочности раствора на сжатие R вычисляют для каждого образца с погрешностью до 0,01 МПа (0,1 кгс/см2) по формуле
где P — разрушающая нагрузка, Н; А — рабочая площадь сечения образца, см2. 6.6.2. Рабочую площадь сечения образцов определяют по результатам измерения как среднее арифметическое значение площадей двух противоположных граней. 6.6.3. Предел прочности раствора на сжатие вычисляют как среднее арифметическое значение результатов испытаний трех образцов. 6.6.4. Результаты испытаний заносят в журнал по форме согласно приложению 2. 7. ОПРЕДЕЛЕНИЕ СРЕДНЕЙ ПЛОТНОСТИ РАСТВОРА 7.1. Плотность раствора определяют испытанием образцов-кубов с ребром 70,7 мм, изготовленных из растворной смеси рабочего состава, либо пластин размером 50Х50 мм, взятых из швов конструкций. Толщина пластин должна соответствовать толщине шва. При производственном контроле плотность растворов определяют испытанием образцов, предназначенных для определения прочности раствора. 7.2. Образцы изготавливают и испытывают сериями. Серия должна состоять из трех образцов. 7.3. Аппаратура, материалы 7.3.1. Для проведения испытания применяют: весы технические по ГОСТ 24104—88; шкаф сушильный по ОСТ 16.0.801.397—87; штангенциркуль по ГОСТ 166—89; стальные линейки по ГОСТ 427—75; эксикатор по ГОСТ 25336—82; хлористый кальций безводный по ГОСТ 450—77 или серную кислоту плотностью 1,84 г/см3 по ГОСТ 2184—77; парафин по ГОСТ 23683—89. 7.4. Подготовка к испытанию 7.4.1. Плотность раствора определяют испытанием образцов в состоянии естественной влажности пли нормированном влажностном состоянии: сухом, воздушно-сухом, нормальном, водонасыщенном. 7.4.2. При определении плотности раствора в состоянии естественной влажности образцы испытывают сразу же после их отбора или хранят в паронепроницаемой упаковке или герметичной таре, объем который превышает объем уложенных в нее образцов не более чем в 2 раза. 7.4.3. Плотность раствора при нормируемом влажностном состоянии определяют испытанием образцов раствора, имеющих нормируемую влажность или произвольную влажность с последующим пересчетом полученных результатов на нормированную влажность по формуле (7). 7.4.4. При определении плотности раствора в сухом состоянии образцы высушивают до постоянной массы в соответствии с требованиями п. 8.5.1. 7.4.5. При определении плотности раствора в воздушно-сухом состоянии образцы перед испытанием выдерживают не менее 28 сут в помещении при температуре (25 ± 10) °С и относительной влажности воздуха (50 ± 20) %. 7.4.6. При определении плотности раствора в нормальных влажностных условиях образцы хранят 28 сут в камере нормального твердения, эксикаторе или другой герметичной емкости при относительной влажности воздуха не менее 95 % и температуре (20±2) °С. 7.4.7. При определении плотности раствора в водонасыщенном состоянии образцы насыщают водой в соответствии с требованиями п. 9.4. 7.5. Проведение испытания 7.5.1. Объем образцов вычисляют по их геометрическим размерам. Размеры образцов определяют штангенциркулем с погрешностью не более 0,1 мм. 7.5.2. Массу образцов определяют взвешиванием с погрешностью не более 0,1 %. 7.6. Обработка результатов 7.6.1. Плотность образца раствора ρω вычисляют с погрешностью до 1 кг/м3 по формуле где т — масса образца, г; V — объем образца, см3. 7.6.2. Плотность раствора серии образцов вычисляют как среднее арифметическое значение результатов испытания всех образцов серии. Примечание. Если определение плотности и прочности раствора производят испытанием одних и тех же образцов, то образцы, отбракованные при определении прочности раствора, не учитывают при определении его плотности. 7.6.3. Плотность раствора при нормированном влажностном состоянии ρн, кг/м3, вычисляют по формуле
где ρω — плотность раствора при влажности Wм, кгс/м3; Wн - нормированная влажность раствора, %; Wм - влажность раствора в момент испытания, определяемая по разд. 8. 7.6.4. Результаты испытаний должны быть занесены в журнал по форме согласно приложению 2. 8. ОПРЕДЕЛЕНИЕ ВЛАЖНОСТИ РАСТВОРА 8.1. Влажность раствора определяют испытанием образцов или проб, полученных дроблением образцов после их испытания на прочность или извлеченных из готовых изделий или конструкций. 8.2. Наибольшая крупность раздробленных кусков раствора должна быть не более 5 мм. 8.3. Образцы проб дробят и взвешивают сразу же после отбора и хранят их в паронепроницаемой упаковке или герметичной таре, объем которой превышает объем уложенных в нее образцов не более чем в два раза. 8.4. Аппаратура и материалы 8.4.1. Для проведения испытаний применяют: весы лабораторные по ГОСТ 24104—88; шкаф сушильный по ОСТ 16.0.801.397—87; эксикатор по ГОСТ 25336—82; противни; хлористый кальций по ГОСТ 450—77. 8.5. Проведение испытаний 8.5.1. Подготовленные образцы или пробы взвешивают и высушивают до постоянной массы при температуре (105 ± 5)°С. Гипсовые растворы высушивают при температуре 45—55 °С. Постоянной считают массу, при которой результаты двух последовательных взвешиваний отличаются не более чем на 0,1 %. При этом время между взвешиваниями должно быть не менее 4 ч. 8.5.2. Перед повторным взвешиванием образцы охлаждают в эксикаторе с безводным хлористым кальцием или вместе с сушильным шкафом до комнатной температуры. 8.5.3. Взвешивание производят с погрешностью до 0,1 г. 8.6. Обработка результатов 8.6.1. Влажность раствора по массе Wм в процентах вычисляют с погрешностью до 0,1 % по формуле где тв — масса образца раствора до сушки, г; тс — масса образца раствора после сушки, г. 8.6.2. Влажность раствора по объему Wo в процентах вычисляют с погрешностью до 0,1 % по формуле где ρо — плотность сухого раствора, определяемая по п. 7.6.1; ρв — плотность воды, принимаемая равной 1 г/см3. 8.6.3. Влажность раствора серии образцов определяют как среднее арифметическое результатов определения влажности отдельных образцов раствора. 8.6.4. Результаты испытаний должны быть занесены в журнал, в котором указывают: место и время отбора проб; влажностное состояние раствора; возраст раствора и дату испытаний; маркировку образца; влажность раствора проб (образцов) и серий по массе; влажность раствора проб (образцов) и серий по объему. 9. ОПРЕДЕЛЕНИЕ ВОДОПОГЛОЩЕНИЯ РАСТВОРА 9.1. Водопоглощение раствора определяют испытанием образцов. Размеры и количество образцов принимают по п. 7.1. 9.2. Аппаратура и материалы 9.2.1. Для проведения испытаний применяют: весы лабораторные по ГОСТ 24104—88; шкаф сушильный по ОСТ 16.0.801.397—87; емкость для насыщения образцов водой; проволочную щетку или абразивный камень. 9.3. Подготовка к испытанию 9.3.1. Поверхность образцов очищают от пыли, грязи и следов смазки с помощью проволочной щетки или абразивного камня. 9.3.2. Образцы испытывают в состоянии естественной влажности или высушенных до постоянной массы. 9.4. Проведение испытания 9.4.1. Образцы помещают в емкость, наполненную водой с таким расчетом, чтобы уровень воды в емкости был выше верхнего уровня уложенных образцов примерно на 50 мм. Образцы укладывают на прокладки так, чтобы высота образца была минимальной. Температура воды в емкости должна быть (20 ± 2) °С. 9.4.2. Образцы взвешивают через каждые 24 ч водопоглощения на обычных или гидростатических весах с погрешностью не более 0,1 %. При взвешивании на обычных весах образцы, вынутые из воды, предварительно вытирают отжатой влажной тканью. 9.4.3. Испытание проводят до тех пор, пока результаты двух последовательных взвешиваний будут отличаться не более чем на 0,1 %. 9.4.4. Образцы, испытываемые в состоянии естественной влажности, после окончания процесса водонасыщения высушивают до постоянной массы по п. 8.5.1. 9.5. Обработка результатов 9.5.1. Водопоглощение раствора отдельного образца по массе Wм в процентах определяют с погрешностью до 0,1 % по формуле
где тс — масса высушенного образца, г; mв — масса водонасыщенного образца, г. 9.5.2. Водопоглощение раствора отдельного образца по объему Wо в процентах определяют с погрешностью до 0,1 % по формуле где ρо — плотность сухого раствора, кг/м3; ρв — плотность воды, принимаемая равной 1 г/см3. 9.5.3. Водопоглощение раствора серий образцов определяют как среднее арифметическое значение результатов испытаний отдельных образцов в серии. 9.5.4. В журнале, в которой заносят результаты испытаний, должны быть предусмотрены следующие графы: маркировка образцов; возраст раствора и дата испытаний; водопоглощение раствора образцов; водопоглощение раствора серии образца. 10. ОПРЕДЕЛЕНИЕ МОРОЗОСТОЙКОСТИ РАСТВОРА 10.1. Морозостойкость строительного раствора определяют только в случаях, оговоренных в проекте. Растворы марок 4; 10 и растворы, приготовленные на воздушных вяжущих, на морозостойкость не испытывают. 10.2. Раствор на морозостойкость испытывают путем многократного попеременного замораживания образцов-кубов с ребром 70,7 мм в состоянии насыщения водой при температуре минус 15—20 °С и оттаивания их в воде при температуре 15—20 °С. 10.3. Для проведения испытания готовят 6 образцов-кубов, из которых 3 образца подвергают замораживанию, а остальные 3 образца являются контрольными. 10.4. За марку раствора по морозостойкости принимают наибольшее число циклов попеременного замораживания и оттаивания, которое при испытании выдерживают образцы. Марки раствора по морозостойкости должны приниматься согласно требованиям действующей нормативной документации. 10.5. Аппаратура 10.5.1. Для проведения испытаний применяют: камеру морозильную с принудительной вентиляцией и автоматическим регулированием температуры в пределах минус 15—20 °С; емкость для насыщения образцов водой с прибором, обеспечивающим поддержание температуры воды в сосуде в пределах плюс 15—20 °С; формы для изготовления образцов по ГОСТ 22685—89. 10.6. Подготовка к испытанию 10.6.1. Образцы, подлежащие испытанию на морозостойкость, (основные) следует занумеровать, осмотреть и замеченные дефекты (незначительные околы ребер или углов, выкрашивание и др.) занести в журнал испытаний. 10.6.2. Основные образцы должны быть испытаны на морозостойкость в 28-суточном возрасте после выдерживания в камере нормального твердения. 10.6.3. Контрольные образцы, предназначенные для испытания на сжатие, должны храниться в камере нормального твердения при температуре (20 ± 2) °С и относительной влажности воздуха не менее 90 %. 10.6.4. Основные образцы раствора, предназначенные для испытания на морозостойкость, и контрольные образцы, предназначенные для определения прочности на сжатие в 28-суточном возрасте, перед испытанием должны быть насыщены водой без предварительного высушивания путем выдерживания их в течение 48 ч в воде при температуре 15—20 °С. При этом образец должен быть окружен со всех сторон слоем воды толщиной не менее 20 мм. Время насыщения в воде входит в общий возраст раствора. 10.7. Проведение испытания 10.7.1. Основные образцы, насыщенные водой, следует помещать в морозильную камеру в специальных контейнерах или устанавливать на сетчатые полки стеллажей. Расстояние между образцами, а также между образцами и стенками контейнеров и вышележащими полками, должно быть не менее 50 мм. 10.7.2. Образцы следует замораживать в морозильной установке, обеспечивающей возможность охлаждения камеры с образцами и поддержания в ней температуры минус 15—20 °С. Температура должна измеряться на уровне половины высоты камеры. 10.7.3. Образцы следует загружать в камеру после охлаждения в ней воздуха до температуры не выше минус 15 °С. Если после загрузки камеры температура в ней окажется выше минус 15 °С, то началом замораживания следует считать момент установления температуры воздуха минус 15 °С. 10.7.4. Продолжительность одного замораживания должна быть не менее 4 ч. 10.7.5. Образцы после выгрузки из морозильной камеры должны оттаивать в ванне с водой при температуре 15—20 °С в течение 3 ч. 10.7.6. Контрольный осмотр образцов следует производить в целях прекращения испытания на морозостойкость серий образцов, у которых поверхность двух из трех образцов имеет видимые разрушения (расслоение, сквозные трещины, выкрашивания). 10.7.7. После проведения попеременного замораживания и оттаивания образцов основные образцы надлежит испытать на сжатие. 10.7.8. Образцы на сжатие следует испытывать в соответствии с требованиями разд. 6 настоящего стандарта. 10.7.9. Перед испытанием на сжатие основные образцы осматривают и определяют площадь повреждения граней. При наличии признаков повреждения опорных граней образцов (шелушение и т. п.) перед испытанием следует выровнить их слоем быстротвердеющего состава толщиной не более 2 мм. Образцы в этом случае следует испытывать через 48 ч после подливки, причем первые сутки образцы должны храниться во влажной среде, а затем — в воде при температуре 15—20 °С. 10.7.10. Контрольные, образцы следует испытывать на сжатие в насыщенном водой состоянии перед началом замораживания основных образцов. Перед установкой на пресс опорные поверхности образцов должны быть вытерты влажной тканью. 10.7.11. При оценке морозостойкости по потере массы после проведения требуемого числа циклов замораживания и оттаивания образцы взвешивают в насыщенном водой состоянии с погрешностью не более 0,1 %. 10.7.12. При оценке морозостойкости по степени повреждения образцы осматривают через каждые 5 циклов попеременного замораживания и оттаивания. Образцы осматривают после их оттаивания через каждые 5 циклов. 10.8. Обработка результатов 10.8.1. Морозостойкость по потере прочности при сжатии образцов при попеременном замораживании и оттаивании оценивают путем сравнения прочности основных и контрольных образцов в насыщенном водой состоянии. Потерю прочности образцов Δ в процентах вычисляют по формуле
где Rконтр — среднее арифметическое значение предела прочности при сжатии контрольных образцов, МПа (кгс/см2); Rосн — среднее арифметическое значение предела прочности при сжатии основных образцов после испытания их на морозостойкость, МПа (кгс/см2). Допускаемая величина потери прочности образцов при сжатии после попеременного их замораживания и оттаивания — не более 25 %. 10.8.2. Потерю массы образцов, испытанных на морозостойкость, М в процентах вычисляют по формуле где m1 — масса насыщенного водой образца перед испытанием его на морозостойкость, г; m2 — масса насыщенного водой образца после испытания его на морозостойкость, г. Потерю массы образцов после испытания на морозостойкость вычисляют как среднее арифметическое значение результатов испытаний трех образцов. Допускаемая величина потери массы образцов после попеременного замораживания и оттаивания — не более 5 %. 10.8.3. В журнале испытаний образцов на морозостойкость должны быть указаны следующие данные: вид и состав раствора, проектная марка по морозостойкости; маркировка, дата изготовления и дата испытания; размеры и масса каждого образца до и после испытания и потеря массы в процентах; условия твердения; описание дефектов, обнаруженных в образцах до испытания; описание внешних признаков разрушения и повреждения после испытания; пределы прочности при сжатии каждого из основных и контрольных образцов и изменение прочности в процентах после испытания на морозостойкость; число циклов замораживания и оттаивания. ПРИЛОЖЕНИЕ 1 Обязательное ОПРЕДЕЛЕНИЕ ПРОЧНОСТИ РАСТВОРА, ВЗЯТОГО ИЗ ШВОВ, НА СЖАТИЕ 1. Прочность раствора определяют путем испытания на сжатие кубов с ребрами 2—4 см, изготовленных из двух пластинок, взятых из горизонтальных швов кладки или стыков крупнопанельных конструкций. 2. Пластинки изготавливают в виде квадрата, сторона которого в 1,5 раза должна превышать толщину пластинки, равную толщине шва. 3. Склеивание пластинок раствора для получения кубов с ребрами 2—4 см и выравнивание их поверхностей производят при помощи тонкого слоя гипсового теста (1—2 мм). 4. Допускается выпиливать образцы-кубы из пластин в том случае, когда толщина пластины обеспечивает получение необходимого размера ребра. 5. Образцы следует испытывать через сутки после их изготовления. 6. Образцы-кубы из раствора с ребрами длиной 3—4 см испытывают по п. 6.5 настоящего стандарта. 7. Для испытания образцов-кубов из раствора с ребрами 2 см, а также оттаявших растворов применяют малогабаритный настольный пресс типа ПС. Нормальный диапазон нагрузок составляет 1,0—5,0 кН (100—500 кгс). 8. Прочность раствора вычисляют по п. 6.6.1 настоящего стандарта. Прочность раствора должна определяться как среднее арифметическое значение из результатов испытаний пяти образцов. 9. Для определения прочности раствора в кубах с ребрами 7,07 см следует результаты испытаний кубов летних и зимних растворов, отвердевших после оттаивания, умножить на коэффициент, приведенный в таблице.
ПРИЛОЖЕНИЕ 2 Рекомендуемое ЖУРНАЛ испытаний для определения подвижности, средней плотности растворной смеси и прочности на сжатие, средней плотности образцов раствора
Руководитель лаборатории ____________________________________________ Ответственный за изготовление и испытание образцов ________________________________________________ _____________ * В графе «Примечания» должны быть указаны дефекты образцов: раковины, посторонние включения и места их расположения, особый характер разрушения и т.д. Поделитесь этой записью или добавьте в закладки |
| |||||||||||||||||||||||||||||||||||||||||||||||||||||||||||||||||||||||||||||||||||||||||||||||||||||||||||||||||||||||||||||||||||||







