ГОСТ 25809-96 МЕЖГОСУДАРСТВЕННЫЙ СТАНДАРТ СМЕСИТЕЛИ И КРАНЫ ВОДОРАЗБОРНЫЕ Типы и основные размеры Water supply mixing valves and taps. Types and principal dimensions Дата введения 1998—01—01 Предисловие 1 РАЗРАБОТАН Научно-исследовательским институтом санитарной техники (НИИсантехники) Российской Федерации ВНЕСЕН Минстроем России 2 ПРИНЯТ Межгосударственной Научно-технической Комиссией по стандартизации, техническому нормированию и сертификации в строительстве (МНТКС) 15 мая 1996 г. За принятие проголосовали
3 Постановлением Минстроя России от 25 декабря 1997 г. № 18—73 межгосударственный стандарт ГОСТ 25809—96 введен в действие непосредственно в качестве государственного стандарта Российской Федерации с 1 января 1998 г. 4 ВЗАМЕН ГОСТ 25809-83 1 ОБЛАСТЬ ПРИМЕНЕНИЯ Настоящий стандарт распространяется на водоразборные смесители и краны для умывальников, рукомойников, моек, раковин, ванн, душа, бидэ, предназначенные для подачи и смешения холодной и горячей (температурой до 75 °С) воды, поступающей из централизованных или местных систем холодного и горячего водоснабжения при рабочем давлении от 0,05 до 0,63 МПа или от 0,05 до 1,0 МПа. Обязательные требования изложены в пунктах 3.2, 3.4 — 3.16. 2 НОРМАТИВНЫЕ ССЫЛКИ В настоящем стандарте использованы ссылки на следующие стандарты: ГОСТ 8870—79 Колонки водогрейные для ванн. Технические условия ГОСТ 19681—94 Арматура санитарно-техническая водоразборная. Общие технические условия 3 ТИПЫ И ОСНОВНЫЕ РАЗМЕРЫ 3.1 Обозначения, определяющие тип смесителя или крана: См — смеситель, Кр — кран, Ум — для умывальника, М — для мойки, В — для ванны, ВУ — общий для ванны и умывальника, Дш — для душа, бд — для бидэ, К — для водогрейной колонки, Д — двухрукояточный, О — однорукояточный, Л — локтевой, Р — с подводками в раздельных отверстиях, Ц — центральный (с подводками, размещенными в одном отверстии), Б — набортный, Н — настенный, 3 — застенный, Шл — с душевой сеткой на гибком шланге, Шт — с душевой сеткой на штанге, Тр — с душевой сеткой на стационарной трубке, Щб — со щеткой с набортным креплением, Щн — со щеткой с настенным креплением, А — излив с аэратором, Ив — излив выдвижной, Ст — излив со струевыпрямителем, р — излив с развальцованным носиком. 3.2 Условное обозначение типа смесителя или крана в технической документации или при заказе должно состоять из букв: См — для смесителя или Кр — для крана, типа смесителя или крана, указанного последовательным набором буквенных обозначений, приведенных в 3.1, и обозначения настоящего стандарта. В условное обозначение настенного смесителя перед обозначением настоящего стандарта добавляют цифры 10 или 15 в зависимости от межцентрового расстояния штуцеров 100 или 150 мм. Пример условного обозначения типа смесителя для умывальника, однорукояточного, центрального, набортного, с аэратором: См-УмОЦБА ГОСТ 25809-96 То же, для мойки двухрукояточного, центрального, набортного с аэратором: См-МДЦБА ГОСТ 25809-96 То же, для ванны, однорукояточного, раздельного, настенного, с душевой сеткой на гибком шланге и штанге, со струевыпрямителем и межцентровым расстоянием 150 мм: См-ВОРНШлШтСт-15 ГОСТ 25809-96 То же, общего для ванны и умывальника, двухрукояточного, раздельного, настенного, с душевой сеткой на гибком шланге, с аэратором и межцентровым расстоянием 150 мм: См-ВУДРНШлА-15 ГОСТ 25809-96 То же, для душа, двухрукояточного, раздельного, настенного, с душевой сеткой на стационарной трубке и межцентровым расстоянием 150 мм: См-ДшДРНТр-15 ГОСТ 25809-96 3.3 Форма и конструкция корпусов смесителей и кранов, переключателей воды, изливов, аэраторов, душевых трубок, шлангов, душевых сеток, щеток, маховичков вентильных головок или рукояток, деталей присоединения смесителей и кранов к сетям холодной и горячей воды, крепления душевых сеток к стене или на корпусе смесителя настоящим стандартом не регламентируются, а определяются рабочими чертежами. 3.4 Настенные смесители изготовляют с расстоянием между центрами штуцеров для присоединения патрубков подвода воды, равным 100 и 150 мм, в соответствии с заказами потребителей. 3.5 Изливы смесителей и кранов изготавливают с аэратором, струевыпрямителем или развальцованным носиком. 3.6 Основные и присоединительные размеры смесителей и кранов и предельные отклонения от размеров должны соответствовать указанным на рисунках 1—29 и в таблицах 1—11. 3.7 Центральные смесители для умывальников, моек изготовляют с литым тройником или с гибкими трубками, предназначенными для присоединения смесителя к сетям холодной и горячей воды, основные размеры которых указаны на рисунке 22. 3.8 Основные размеры седла клапана и резьбы седла для присоединения вентильных головок должны соответствовать указанным на рисунке 24. 3.9 Размер резьбы накидных гаек и штуцеров для присоединения душевых трубок и шлангов должен быть G =1/2 - В, а поворотных изливов — G 3/4 - В. 3.10 Размер резьбы узла присоединения душевой сетки к душевой трубке и трубке рукоятки гибкого шланга должен быть G 1/2-B. 3.11 Размеры резьбы узла присоединения аэратора к изливам должны соответствовать указанным на рисунке 25. 3.12 Смесители и краны центральные набортные должны иметь размер корпуса, обеспечивающий их монтаж на отверстии мойки, раковины, умывальника или рукомойника диаметром 34 мм. 3.13 Гибкие подводки центральных и набортных смесителей (рисунок 22) должны обеспечивать удобство монтажа (гибку без применения дополнительного инструмента). 3.14 Патрубки для присоединения настенных смесителей к сетям холодной и горячей воды должны иметь эксцентриситет не менее 3 мм и внутренние реборды или наружные лыски для завинчивания их в муфту или угольник. 3.15 Конструкция смесителей к водогрейным колонкам должна исключать возможность повышения давления в водяном баке колонки выше 0,1 МПа. 3.16 Предприятия-изготовители должны поставлять смесители и краны комплектно. В комплект входит смеситель или кран со всеми деталями (облицовочные шайбы, патрубки или узлы присоединения к сетям холодной или горячей воды, детали крепления, прокладки и т.д.), предусмотренными технической документацией. 3.17 Технические требования, правила приемки, методы испытаний, маркировка, упаковка, транспортирование, хранение, указания по монтажу и эксплуатации смесителей и кранов и гарантии изготовителя — по ГОСТ 19681. 3.18 Время действия порционных полуавтоматических смесителей и кранов не должно превышать 60 с.
Таблица 1
Рисунок 1 — Смеситель для умывальника и мойки двухрукояточный центральный набортный, излив с аэратором. Типы См-УмДЦБА, См-МДЦБА
Таблица 2
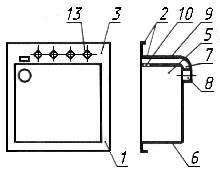
Рисунок 2 — Смеситель для умывальника и мойки двухрукояточный центральный набортный, излив с аэратором. Типы См-УмДЦБА, См-МДЦБА Рисунок 3 — Смеситель для умывальника однорукояточный локтевой с подводками в раздельных отверстиях настенный. Тип См-УмОЛРН
Рисунок 4 — Смеситель для умывальника двухрукояточный с подводками в раздельных отверстиях застенный, излив с аэратором. Тип См-УмДРЗА
Рисунок 5 — Смеситель для умывальника двухрукояточный с подводками в раздельных отверстиях настенный, излив с аэратором. Тип См-УмДРНА
Таблица 3
Рисунок 6 — Смеситель для умывальника и мойки двухрукояточный с подводками в раздельных отверстиях набортный, излив с аэратором. Типы См-УмДРБА, См-МДРБА
Таблица 4
Рисунок 7 — Смеситель для умывальника и мойки однорукояточный центральный набортный, излив с аэратором. Типы См-УмОЦБА, См-МОЦБА
Таблица 5
Рисунок 8 — Смеситель для мойки двухрукояточный центральный набортный со щеткой с набортным креплением, излив с аэратором. Тип См-МДЦБЩбА
Таблица 6
Рисунок 9 — Смеситель для мойки двухрукояточный центральный набортный со щеткой с настенным креплением, излив с аэратором. Тип См-МДЦБЩнА
Таблица 7
Рисунок 10 — Смеситель для умывальника и мойки двухрукояточный с подводками в раздельных отверстиях настенный, излив с аэратором. Типы См-УмДРНА, См-МДРНА
Таблица 8
Рисунок 11 — Смеситель для мойки двухрукояточный с подводками в раздельных отверстиях настенный со щеткой с настенным креплением, излив с развальцованным носиком. Тип См-МДРНЩнр ___________ * Справочный размер. Рисунок 12 — Смеситель общий для ванны и умывальника двухрукояточный с подводками в раздельных отверстиях настенный с душевой сеткой на гибком шланге, излив с развальцованным носиком. Тип См-ВУДРНШлр
Рисунок 13 — Смеситель общий для ванны и умывальника двухрукояточный с подводками в раздельных отверстиях настенный с душевой сеткой на штанге, излив с развальцованным носиком. Тип См-ВУДРНШтр
___________ * Справочный размер. Рисунок 14 — Смеситель для ванны двухрукояточный с подводками в раздельных отверстиях настенный с душевой сеткой на гибком шланге. Тип См-ВДРНШл
Рисунок 15 — Смеситель для ванны однорукояточный с подводками в раздельных отверстиях настенный с душевой сеткой на гибком шланге, излив с аэратором. Тип См-ВОРНШлА
Рисунок 16 — Смеситель для ванны двухрукояточный с подводками в раздельных отверстиях застенный. Тип См-ВДРЗ
__________ * Справочный размер. Рисунок 17 — Смеситель для душа двухрукояточный с подводками в раздельных отверстиях застенный с душевой сеткой на штанге. Тип См-ДшДРЗШт
___________ * Справочный размер. Рисунок 18 — Смеситель для душа двухрукояточный с подводками в раздельных отверстиях настенный с душевой сеткой на гибком шланге. Тип См-ДшДРНШл
________ * Справочный размер. Рисунок 19 — Смеситель для душа двухрукояточный с подводками в раздельных отверстиях настенный с душевой сеткой на стационарной трубке. Тип См-ДшДРНТр
_________ * Справочный размер. Таблица 9 В миллиметрах
L = (160±5) мм — в смесителях к колонке только для ванн; L = (310±6) мм — в смесителях к колонке, общих для ванны и умывальника Рисунок 20 — Смеситель для водогрейной колонки двухрукояточный настенный с душевой сеткой на стационарной трубке. Тип См-КДНТр
Таблица 10
Рисунок 23 — Присоединительные размеры корпусов вентильных головок водоразборной и смесительной санитарно-технической арматуры
Рисунок 24 — Основные размеры седла клапана и резьб для присоединения вентильных головок
Таблица 11 Размеры в миллиметрах
Рисунок 27 — Кран водоразборный настенный. Тип КрН
_________ * Справочные размеры Рисунок 29 — Кран туалетный настенный. Тип КрНр
_________ * Справочные размеры. Рисунок 28 — Кран водоразборный набортный. Типы КрЦБр, КрЦБА УДК 621.646.72:006.354 МКС 91.140.70 Ж21 ОКП 49 5110 Ключевые слова: смесители, краны, арматура санитарно-техническая водоразборная Поделитесь этой записью или добавьте в закладки |
| ||||||||||||||||||||||||||||||||||||||||||||||||||||||||||||||||||||||||||||||||||||||||||||||||||||||||||||||||||||||||
















































